找回密码
 立即注册
搜索
查看: 210|回复: 0

[浙教版] (九上)第16课 机械能(解析版)(导学案1)

[复制链接]

4万

主题

224

回帖

19万

积分

管理员

积分
194640
发表于 2026-3-25 03:41:51 | 显示全部楼层 |阅读模式
16  机械能

课程标准
学习目标
  • 掌握动能和势能的概念
  • 理解清楚机械能守恒的内容
  • 动能的大小与影响因素
  • 势能的大小与影响因素
  • 机械能守恒分析

观察与判断下列物体具有什么能量

d0b2f146f71a6777e80c843f32f05022.png
0b4b443daab765f1130906988039a5d1.png
运动的过山车行驶的火车
判断物体能量的大小与什么有关

b3e27be7955d3e311f1b2f91439df971.png
dc4a642840cbbaead096d8aa0c6568d5.png
0ffa1aeb06130c16e0c05e9f2489073d.png
高空坠物射箭快艇

.动能
1.定义:物体由于运动而具有的能量。
2.猜想影响动能大小的因素:质量、速度、以及其他因素(形状、温度)

cac82cd138b04d85eba81468a46e8abf.png
5882e29fbbfb1c074f84387f231f2707.png
推测原因:高速不同质量车限速不同,相同速度的人不同质量撞击不同
3.动能大小的影响因素:

1e4aee6efa353394c86b0695baa01197.png
3.实验变量:
1)小球的初始高度:控制到达水平面的速度大小
2)不同质量的小球:
3)物块移动的距离:表示小球动能大小
4.实验操作:
1)相同质量的小球从不同高度下落,探究速度对物体动能的影响
2)不同质量的小球从相同高度下落,探究质量对物体动能的影响
5.实验方法:控制变量法,转化法
6.实验结论:物体的动能大小与质量有关,与速度有关
.势能
1.重力势能:
1)定义:物体由于被举高而具有的能量叫做重力势能。
2重力势能的影响因素:

f26690b851534b647c3052e549dbd66d.png
3)实验变量:
①小球的初始高度:控制到达水平面下落距离
②不同质量的小球:
③陷入沙坑的距离:表示小球重力势能大小
4)实验操作:
①相同质量的小球从不同高度下落,探究下落高度对物体重力势能的影响
②不同质量的小球从相同高度下落,探究质量对物体重力势能的影响
③相同质量的小球从运动轨迹下落,探究下落运动轨迹对物体重力势能的影响
5)实验方法:控制变量法,转化法
6)实验结论:物体的重力势能大小与质量有关,与下落高度有关,与运动路径无关
2.弹性势能:
(1)定义:物体由于发生弹性形变而具有的能量叫做弹性势能。
(2)影响弹性势能大小的因素:弹性势能的大小与物体弹性形变的大小有关。

25b9a7cf9cbd2d764e7a8ff34e418e47.png
9af217940bf4c499e0085e5269ac4dfc.png
.机械与机械能守恒
1.机械能:动能和势能之和称为机械能。
2.机械能守恒:物体的动能和势能可以相互转化,而且在转化过程中,如果只有动能和势能的相互转化,机械能的总量就保持不变,即机械能守恒。
3.机械能守恒的几种类型
1)弹簧:在下落过程中,小球未接触弹簧之前机械能守恒,接触弹簧后机械能减少,随着压缩程度增大,弹力增大,即出现下图的:
a.接触点:之前小球机械能守恒,之后小球机械能减小,弹簧弹性势能增大
b.平衡点:弹力大小等于重力,之前是加速,之后减速,该点动能最大
c.最低点:动能为零,重力势能最小,弹簧弹性势能最大

5875efb961ed1f5024937a0a0f2b7079.png
2)蹦极
a.接触点:之前人机械能守恒,之后人机械能减小,弹簧弹性势能增大
b.平衡点:弹力大小等于重力,之前是加速,之后减速,该点动能最大
c.最低点:动能为零,重力势能最小,弹簧弹性势能最大

cc438ce7b012fc8af8e0b1e41a67e588.png
3)滚摆:重力势能与动能之间转化

a61c1bf5c14a7d1dd3fa186d237cccc5.png
4)单摆
ac两点是最高点,动能为零重力势能最大
b.点是最低点,重力势能最小,动能最大
单摆整个过程中没有受力平衡的点

593b5aae908f6c8cf72085d3e4e87836.png
  • 斜面
重力势能与动能转化机械能守恒

2d9bafaa021a78b9b3c44de85f8e9e55.png
7其他形式的机械能守恒:

8779fda4bd63ab460f9f13aded224bed.png
1b3bee9c0e59c3b7000a29a42045cf1f.png
d93321680eaf76f41ed81a1cb7453995.png
     撑杆跳                         跳远                              扔实心球

22382615c7b4cbd49ee1b9cb81e5bbb3.png               
326198d8fe9eb991c3e33c927b9096e2.png
卫星                                          水利发电

一、选择题
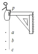
1.如图,现有粗糙水平面上有一个轻质弹簧。弹簧左端固定在墙壁上,右边连接一木块,当弹簧自然伸长时右端在O点。如图,将木块拉至A点后放手,第一次木块向左运动,最远能达到B点。下列说法正确的是(   

d0a0440c5d1b9c07317cd26bd6968bd6.png
A.AO的过程中木块动能不断增加         B.AB的过程中弹簧弹性势能不断减小
C.木块的动能和弹簧的弹性势能之和不变     D.当小球最后静止时,木块可能在O点的左侧或右侧
2.如图所示,将同一小球在同一位置以相同速度沿不同方向抛出,小球运动轨迹如图①、②所示。若不计空气阻力,沿轨迹①、②落到地面时的速度分别为v1v2,则有(  )

7bbadac5a4ba0b6a6b1c3bc9a683796b.png
A.v1<v2        B.v1=v2        C.v1>v2        D.无法比较
3.在某冬奥会上,一运动员在比赛过程中运动的轨迹(a→b→c→d→e)如图所示,如果不计空气阻力,下列说法不正确的是(  )

70ba77f2b0d424a213a108a570dae10a.png
A.从a点下滑到b点过程中,动能增加     B.在a点的重力势能等于c点的重力势能
C.在c点的机械能等于d点的机械能       D.从b点运动到c点过程中,重力势能增加
4.如图的四种运动中,动能转化为势能的是(  )

dbf1d48ba2763d737c22a0c68a4f6e47.jpg
baba071452f53237f41b35d6f547a85d.jpg
f61fa76332352fc3bac70d5460ca6e54.jpg
cf40a9283793cf63f00adb32d293311c.jpg
A.运动员被蹦床弹起后向上运动的过程          B.小球从C点向点B运动
C.滚摆由最高点向下运动                      D.卫星从远地点向近地点运动
5.如图所示,在“探究动能的大小跟哪些因素有关”的实验中,下列说法正确的是(  )

9754834bd02f6035156b59eb3048cd76.png
A.实验所用斜面和水平面都必须是光滑的      B.木块向前滑行的过程中机械能保持不变
C.小球质量越大,到达斜面底端的速度越大    D.木块被撞击后滑行的越远,说明小球的动能越大
6.安吉云上草园景点的悬崖秋千已经成为许多游客喜欢的运动项目之一,荡秋千的游客由最低点荡向最高点的过程中(  )

2092d6e11a8ceae88532c6a4f712df06.jpg
A.速度增大        B.动能增大
C.重力势能转化为动能        D.重力势能增大
7.2022年11月29日23时,搭载神舟十五号载人飞船的长征二号F遥十五运载火箭在酒泉卫星发射中心成功发射,火箭所用燃料是偏二甲肼与四氧化二氮。随着我国科技的进步,未来我国的运载火箭将可以使用国产液态氢作为燃料。下列说法正确的是(  )

e33fc7920fabeba52a7c6cbbcff7b201.jpg
A.火箭选用液态氢作燃料,主要是因为液态氢具有较大的热值
B.火箭加速升空的过程中,火箭的动能转化为重力势能
C.火箭加速升空的过程中,航天员的机械能守恒
D.火箭飞行过程中,燃料燃烧产生的内能全部转化为火箭的机械能
8.学校将举行运动会,如图为小金同学在练习跳远时的几个阶段,则他(  )

36dba65cdad52c64a1c621b8cd23ef77.png
A.在助跑阶段机械能不变        B.在起跳时机械能为零
C.经过最高点时重力势能最大        D.经过最高点时动能为零
9.如图所示,将一弹簧固定在水平桌面上,在其上放置一个小钢球,钢球静止时弹簧长度为L,用手向下压弹簧到一定程度,释放后钢球运动到距离水平桌面2L处,不计能量损失,整个过程中,对钢球分析错误的是(  )

33bcbe57e3bb9ce062141e069d18d4d2.png
A.甲图中,钢球静止时受到平衡力的作用
B.钢球在弹簧上静止时,弹簧的弹性势能不为零
C.钢球上升但未离开弹簧之前钢球先加速后减速运动
D.钢球上升但未离开弹簧之前,弹簧越小的弹性势能等于小球增加的重力势能
10.打篮球是很多同学喜爱的运动项目,某次篮球掉落过程中,篮球的部分运动轨迹如图所示。下列说法正确的是(  )

c3e7b5374004b5925018db900a2f2ff0.png
A.篮球经过相同高度的BC两点时,机械能相等   B.篮球第一次反弹后到达最高点D时,动能为0
C.篮球经过BE两点时,动能可能相等           D.篮球在整个过程中机械能守恒
11.2021年8月,全红婵在奥运会跳水项目的完美表现引起国人关注。图①是她站在跳板上压缩跳板至最低点,随后完成②③④动作。不考虑空气阻力,下列选项中能表示全红婵从起跳到即将入水的过程中,其机械能变化的大致图像是(  )

42d9f30846b3ee5dae28df99ad3f7132.png
A.
0d64eaa24fa722eab6fe6a0838435344.png B.
9d8cf736e35177abb4dd91ed5ae79a32.png C.
ca44ce61c2aa704595ab3b5f77284709.png D.
6aa6e8b5fafea3998774e0cfa055e901.png
12.同一小球以同样的速度v从同一水平面分别向空气中、光滑斜面抛出,已知ɑ>β,若不计阻力,小球在甲、乙两图中到达最高点的动能分别为E1E2、重力势能分别为E3E4,它们之间的关系符合(  )

c9fecf6432d6d777618b05853c51e63f.png
A.E1=E2        B.E1E2        C.E3=E4        D.E3E4
13.如图所示,当无人机携带包裹匀速直线上升时,关于包裹的能量变化情况,下列说法正确的是(  )  

0d12c4ddedacb619af5911c8964c28c6.png
A.动能减少,重力势能增加        B.动能不变,机械能增加
C.动能不变,重力势能减少        D.动能增加,机械能减少
14.如图所示,A、B两球质量相等,A球用不可伸长的轻绳系于O点,B球用轻弹簧系于O'点,OO'点在同一水平面上,分别将A、B球拉到与悬点等高处,细绳和轻弹簧均处于水平,弹簧处于自然状态,将两球分别由静止开始释放,当两球第一次达到各自悬点的正下方时,两球仍处在同一水平面上,则两球各自第-次到达悬点正下方时(  )

865985bea59a0a8adb1d1bd4cc9078c0.png
A.两球的动能相等  B.B球的动能较大  C.A球的动能较大        D.两球的机械能不相等
二、填空题
15.如图甲为一轻质弹簧自然伸长时的状态,图乙为弹簧上放一个12N的钢球静止时的状态,已知弹簧的缩短量与受到的压力成正比,AB=6cm,BC=2cm。当钢球处于B位置时,弹簧对钢球向上的力是N;当钢球从高处自由落下到最低点C位置时,弹簧对钢球向上的力是N;钢球从C位置向上运动到B位置的过程中,弹簧的弹性势能转化为能。

beeb1c67d1ae33b3fb080433ab098f3c.png
16.图甲中过山车从A点出发,先后经过BCDE点。图乙是过山车在BCDE点的动能和重力势能大小的示意图,则过山车的动能在点最大,B点重力势能的大小E点动能的大小。在这个过程中,过山车的机械能是(选填“变化”或“不变”)的。

bfd151158ad93748d65089776fd523aa.png
三、探究题
17.物体的动能大小与物体的质量和速度有关。某小组选用质量不同、材质相同的光滑金属小球进行如图所示实验,记录木块在水平面上移动的距离,数据如表。

fd7a1e4c4b9f9733d5b0794ae8901053.png   
试验序号
小球放置的高度
小球的质量
木块在水平面上移动的距离
1
h
m
s1
2
h
2m
s2
3
2h
m
s3
(1)实验所用的水平面不能是光滑的,原因是;
(2)实验中为了使小球到达水平面的初速度不同,应采取的操作是;
(3)实验发现s2始终等于s3,请从功能转化角度分析产生此现象的原因。
18.小科同学利用下图所示装置探究“物体的动能大小与哪些因素有关”。将小球A、B分别拉到与竖直方向成一定角度θ的位置,然后都由静止释放,当小球摆动到竖直位置时,将与静止在水平面上的木块C发生碰撞,木块都会在水平面上滑行一定距离后停止。图中的摆长L都相同,<Object: word/embeddings/oleObject1.bin>,球A、B的质量<Object: word/embeddings/oleObject2.bin>。回答下列问题:

405141166d9a3ddbc847813c23bf896b.png   
(1)如图甲、乙所示,目的是探究动能大小与有关;
(2)如图乙、丙所示,图乙木块C滑行得更远些,由此得出物体速度相同时,质量越大,动能越大的结论。则实验中<Object: word/embeddings/oleObject3.bin><Object: word/embeddings/oleObject4.bin>(填“>”“<”或“=”);
(3)该实验是通过观察木块C被撞击后移动的距离判断小球具有的动能的大小。下列实验中也是采用类似研究方法的是(填序号);
A.根据磁铁吸引大头针的多少来判断磁性的强弱
B.在研究磁场时引入磁感应线
C.为了研究电流和电阻关系,使电压保持不变
(4)小强将实验装置改成图丁所示装置研究动能大小是否与质量有关。利用质量不同的铁球将弹簧压缩相同程度后静止释放,撞击同一木块,结果发现木块移动的距离均相同,于是得出动能大小与质量无关的结论。产生这一错误结论主要原因是。
19.小江同学在体育活动中,从铅球下落陷入沙坑的深度情况受到启发,并产生了如下猜想。
猜想一:物体的重力势能与物体的质量有关
猜想二:物体的重力势能与物体的下落高度有关
猜想三:物体的重力势能与物体的运动路径有关
为此小夏设计了如图所示的实验:用大小、形状相同的A、B、C、D四个铅球分别从距离沙表面某高度处静止释放,其中D球从光滑弯曲管道上端静止滑入,最后从管道下端竖直落下(球在光滑管道中运动的能量损失不计)。实验数据如下表:

86d612adce9d3ddde617d5fea21ccf4d.png
实验序号
铅球代号
铅球质量/g
下落高度/m
陷入沙中的深度/m

A
200
0.5
0.1

B
400
0.5
0.25

C
200
1
0.2

D
200
1
0.2
(1)本实验中,铅球的重力势能大小是通过来反映的;
(2)比较③④,得到的结论是;
(3)经进一步实验和分析,小夏大胆给出重力势能(Ep)的表达式“Ep=mgh”,并去办公室询问了老师,得以证实,小夏高兴不已,回到教室后,根据学过的知识又算出了各小球落到沙表面的动能,其中B球的动能为J。(忽略空气阻力)
20.甲、乙是两个完全相同的网球。如图所示,在同一高度同时以大小相等的速度,将甲球竖直向下抛出、乙球竖直向上抛出,不计空气阻力。抛出时两球机械能(选填“相等”或“不相等”);落地前的运动过程中,甲球的动能(选填“增大”、“不变”或“减小”),乙球的机械能(选填“增大”“先增大后减小”“不变”或“减小”),乙球的动能(选填“增大”“先增大后减小”“不变”或“减小”“先减小后增大”)

b8f2c6faf639c5dd07510047f2a2a900.png
参考答案
1D
解析A.小球从A运动到O的过程中,受到水平向左的弹力、水平向右的摩擦力,开始一段时间内,弹力大于摩擦力,小球做加速运动,其速度不断增大,动能增大,后来,弹力小于摩擦力,小球做减速速运动,其速度不断减小,动能减小,故A错误;
BAB的过程中弹簧形变先增大后减小,弹性势能先增大后减小,故B错误;
C.小球在整个运动过程中,需要克服摩擦做功,所以整体的机械能会转化为内能,木块的动能和弹簧的弹性势能之和变小。故C错误;
D.最初只有弹簧的弹性势能,若弹性势能全部转化内能(即弹簧最终处于原长),则小球将停在O点;若弹性势能没有全部转化内能(还有少量的弹性势能),小球将停在O点的左侧或右侧,此时小球在摩擦力和弹力作用下处于静止状态;综上,小球最终静止的位置:可能是O点,也可能偏左或是偏右,故D正确。
故选D
2B
解析】将同一小球在同一位置以相同速度抛出,质量、速度、高度都相同,所以在开始时小球的机械能是相等的。小球先上升再下降,动能转化为重力势能再转化为动能。因为不计空气阻力,机械能没有转化为其他形式的能量。所以小球到达地面时的动能是相等的,又因为是同一小球质量相等,所以小球落地时的速度是相等的。故ACD不符合题意,B符合题意。
故选B
3ACD
解析A.从a点下滑到b点的过程中,高度减小,重力势能转化为动能,因此动能增加,故A正确;
B.运动员质量不变,c点高度比a点低,运动员的重力势能不相等,故B错误;
C.不计空气阻力,运动员在空中下降时机械能总量不变,是守恒的,因此在c点的机械能等于在d点的机械能,故C正确;
D.从b点运动到c点过程中,运动员质量不变,高度增加,重力势能增大,故D正确。
故选ACD
4A
解析A.运动员被蹦床弹起,是蹦床的弹性势能转化为运动员的动能,弹起后,运动员向上运动,高度增大、速度减小,动能再转化为重力势能,故A符合题意;
B.小球从C点向B点运动,高度变小,速度变大,是重力势能转化为动能,故B不符合题意;
C.滚摆由最高点向下运动,高度变小,速度变大,是重力势能转化为动能,故C不符合题意;
D.卫星从远地点向近地点运动,高度变小,速度变大,是重力势能转化为动能,故D不符合题意。
故选A
5D
解析A.动能的大小与速度、质量有关,在研究时控制其他的条件相同即可,不需要斜面和平面必须光滑。故A错误;
B.木块在滑行过程中受到摩擦阻力,克服摩擦做功,有部分机械能转化为内能,故机械能减小。故B错误;
C.实验证明,质量不同的物体在同一斜面的同一高度由静止自由下滑,到达斜面底端时的速度是相同的。故C错误;
D.小球将木块撞击得越远,说明小球对木块做的功越多,说明小球的动能就越大。故D正确。
故选D
6D
解析】荡秋千的游客由最低点荡向最高点的过程中,游客(质量不变)的高度变大,重力势能变大;速度变小,动能变小,动能转化为重力势能,故ABC不符合题意,D符合题意。
故选D
7A
解析A.火箭选用液态氢作燃料,主要是因为液态氢具有较大的热值,完全燃烧相同质量的液态氢可以释放出更多的热量,故A正确;
B.火箭加速升空过程中,质量不变,速度和高度都增加,动能增加,重力势能增加,机械能增加,不是动能转化为重力势能,故B错误;
C.火箭加速升空的过程中,航天员质量不变,速度和高度都增加,机械能增加,故C错误;
D.燃料燃烧产生的内能只有一部分转化成火箭的机械能,还有一部分被损失了,故D错误。
故选A
8C
解析A.助跑阶段,运动员的质量不变,速度逐渐增大,因此动能增大;运动员的高度不变,因此重力势能不变。机械能等于动能和势能的和,动能增大,重力势能不变,因此机械能增大,故A不符合题意;
B.起跳时,运动员的速度达到最大值,动能达到最大值,重力势能不变,机械能达到最大值,故B不符合题意;
C.经过最高点时,质量不变,高度最高,重力势能最大,故C符合题意;
D.经过最高点时,竖直方向速度为零,但物体有水平方向的速度,所以动能不为零,故D不符合题意。
故选C
9D
解析A.甲图中,钢球静止时,处于平衡状态,所以钢球一定受到平衡力的作用(弹力和重力平衡),故A正确,不符合题意;
B.钢球在弹簧上静止时,弹簧在钢球的压力作用下发生了弹性形变,所以弹簧的弹性势能不为0,故B正确,不符合题意;
C.用手向下压弹簧到一定程度后,突然将手撤去,开始一段时间内,弹簧的弹力大于钢球的重力,其合力方向竖直向上,钢球向上做加速运动;当弹簧的弹力小于钢球的重力时,合力方向竖直向下,而速度方向竖直向上,钢球做减速运动,所以钢球先做加速运动后做减速运动,故C正确,不符合题意;
D.钢球上升但未离开弹簧之前,钢球增加的动能和重力势能之和等于弹簧减少的弹性势能,故D错误,符合题意。
故选D
10C
解析AD.由图可知,每次篮球反弹后到达的最高点都比上一次的最高点要低,说明篮球的机械能不断减小,因此在B点的机械能大于在C点的机械能,故AD错误;
B.由图可知,篮球在最高点时,竖直方向速度为0,但在水平方向上速度不为0,所以篮球第一次反弹后到达最高点时的动能不为0,故B错误;
C.篮球在B点的机械能大于在E点的机械能,由图可知,B点比E点高,所以B点的重力势能大于E点的重力势能,机械能是物体动能和势能的总和,因此在B点的动能可能等于在E点的动能,故C正确。
故选C
11B
解析】图是她站在跳板上压缩跳板至最低点,此时她的机械能最小,从的过程中,跳板的弹性势能会转化为运动员的动能和重力势能,这段时间内它的机械能增大。从的过程中,不计空气阻力,则机械能守恒,也就是她的机械能保持不变,故B符合题意,ACD不符合题意。
故选B
12D
解析AB.根据题意知道,小球在甲图中到达最高点时具有水平方向的速度,即此时动能不是0;小球在乙图中到达最高点时速度为0,即此时的动能为0,故小球在甲、乙两图中到达最高点的动能关系为 E1>E2
AB错误;
CD.已知小球的质量和抛出时的速度相同,所以具有的动能Ek相同,又因为小球上升过程中都是将动能转化为重力势能,所以                   E3<E4
C错误, D正确。
故选D
13B
解析AC.无人机携带包裹匀速上升时,质量不变,速度不变,高度变大,所以动能不变,重力势能增加,故AC错误;
BD.机械能等于动能与重力势能之和,所以机械能增大,故B正确,D错误。
故选B
14C
解析AB两球质量相等,开始时二者处于同一水平面上,到达悬点正下方时还在同一水平面上,则它们下降的高度相同,即开始时具有的重力势能相同。由于A球上的轻绳不能伸长,因此到达最低点时重力势能全部转变为动能。而B球上的弹簧可以伸长,因此到达最低点时重力势能转化为小球的动能和弹簧的弹性势能。比较可知,在悬挂点正下方时A球的动能大于B球,故C符合题意,ABD不符合题意。
故选C
15     12     16     重力势能和动
解析[1]小球放在弹簧上处于静止状态,弹簧对小球向上的力与小球重力是一对平衡力,大小相等,所以弹簧对钢球向上的力      F=G=12N
[2]由题意知,弹簧的缩短量与受到的压力成正比,弹簧每压缩1cm时受力大小为   <Object: word/embeddings/oleObject5.bin>
当小球由高处下落到C处时,弹簧被压缩    Δl=AC=AB+BC=6cm+2cm=8cm
所以弹簧对球的力                  F′=2N/cm×Δl=2N/cm×8cm=16N
[3]因为在B点时,弹簧对小球向上的力与小球重力大小相等,所以钢球在C位置向上运动到B位置的过程中,向上的弹力(逐渐变小)大于重力大小,故钢球的速度增大,高度增加,故钢球动能增加,重力势能增加,弹簧压缩的长度变小,弹簧的弹性势能减小,弹簧的弹性势能转化重力势能和动能。
16     C     等于     变化
解析[1]过山车在B点重力势能最大,在下降的过程中,重力势能转化为动能,再加上之前前进的动能,所以在C点动能最大。
[2]由图乙可知,B点的重力势能与E点的动能大小在一个水平线上。所以大小相等。
[3]因为有摩擦以及空气阻力的原因,一部分机械能转化为内能,所以过山车的机械能是变化的。
17     见解析     见解析     见解析
解析】(1[1]小球撞击木块时具有的动能大小可通过木块移动的距离来反映,若换成光滑的水平面,没有阻力作用,木块被撞击后将做匀速直线运动,不能通过被撞击的距离来比较动能大小。
2[2]为了使小球到达水平面的初速度不同,需要将小球从斜面的不同高度滚下。
3[3]由实验23可知,重力势能与质量和高度有关,第2次实验小球的质量是第3次实验小球的质量的2倍,第2次实验小球的高度是第3次实验小球的高度的<Object: word/embeddings/oleObject6.bin>,开始小球的重力势能相等,到达水平面的动能相等,最后速度为零,动能为零,动能转化为内能,内能相等,克服摩擦力做的功等于内能的增加量,克服摩擦力做的功相等,摩擦力大小相等,由W=fs可知小球运动的距离相等。
18     质量     =     A     弹簧的压缩程度相同,小球获得的动能相同,对木块做的功相同,木块移动的距离相同
解析】(1[1]甲、乙两图中,小球的质量不同,由题意知,摆角相同,小球同时到达水平位置,目的是两球的速度相同,因此是探究小球的速度大小与小球的质量的关系。
2[2]由于摆长相同,摆角越大,小球所在的高度越高,小球的重力势能就越大,下落转化的动能就越大,到达竖直位置时的速度就越大,由此可知,相同质量的小球到达竖直位置时的速度与摆角有关,由于乙、丙两次实验,需控制小球到达竖直位置时的速度相同,因此摆角相同,即<Object: word/embeddings/oleObject7.bin>
3[3]该实验是通过观察木块C被撞击后移动的距离判断小球具有的动能的大小,用到了转换法的物理研究方法。
A.探究影响电磁铁的磁性的因素,通过电磁铁吸引大头针数量的多少来判断电磁铁磁性强弱,属于转换法,故A符合题意;
B.磁场看不见、摸不着,我们可以用磁感线来描述磁场,采用了模型法,故B不符合题意;
C.保持电压不变,探究电功率与电流的关系,用到的是控制变量法,故C不符合题意。
故选A
4[4]观察图丁的装置可知,若用质量不同的铁球将同一弹簧压缩相同程度后静止释放,撞击同一木块,铁球获得的动能是由弹簧的弹性势能转化而来,而弹簧的弹性势能大小与形变程度有关,故最初弹簧的弹簧势能相同,转化为的动能相同,因此,木块最终移动的距离相同,这样是不能探究铁球的动能大小与质量的关系。
19     铅球陷入沙中的深度     见解析     2
解析】(1[1]本实验中,铅球的重力势能大小是通过铅球陷入沙子的深度来反映,应用转换法。
2[2]比较③④两球,两球的质量相同,下落高度也相同,两球的运动路径不同,但陷入沙坑的深度相同,由此可得出结论:物体的重力势能与物体运动的路径无关。
3[3]铅球在下落过程中,忽略空气阻力,铅球的重力势能转化为动能,则根据Ep=mgh可得,B球落到沙表面时的动能
E=Ep=mgh=0.4kg×10N/kg×0.5m=2J
20     相等     增大     不变     先减小后增大
解析[1]在同一高度同时以大小相等的速度,将甲球竖直向下抛出、乙球竖直向上抛出,抛出时球的高度、质量、速度均相同,则两球机械能相等。
[2]落地前的运动过程中,甲球的重力势能转化为动能,所以甲球的动能增大。
[3][4]由于不计空气阻力,甲乙两球的机械能不变,但是乙球的动能先转化为重力势能,然后乙球到达最高点后下落过程中,重力势能转化为动能,故乙球的动能先减小会增大。
您需要登录后才可以回帖 登录 | 立即注册

本版积分规则

Archiver|手机版|小黑屋|5432教案网 ( 蜀ICP备2022024372号-1 |川公网安备51152402000101号 )|网站地图

GMT+8, 2026-5-11 02:15 , Processed in 0.868228 second(s), 31 queries .

Powered by Discuz! X3.5

© 2001-2026 Discuz! Team.

快速回复 返回顶部 返回列表