找回密码
 立即注册
搜索
查看: 258|回复: 0

[浙教版] (九上)第19课 简单机械-杠杆(解析版)(导学案1)

[复制链接]

4万

主题

224

回帖

19万

积分

管理员

积分
194640
发表于 2026-3-25 03:43:18 | 显示全部楼层 |阅读模式
19  简单机械-杠杆

课程标准
学习目标
  • 了解杠杆的五要素和分类
  • 掌握杠杆的受力分析与计算
  • 分清杠杆的五要素
  • 掌握杠杆平衡原理
  • 复杂杠杆的受力分析

观察下列装置分析其作用

34c45d71b54622649002bf2c47519602.png
3b849eaf484d714bcd6796a68a33ad80.png
        撬棒撬重物                                    剪刀剪树

324198f071165f999991339888b1caa3.png
d924d5f2816b1ea46b65493637aef628.png
钓鱼竿汽车方向盘

.杠杆
1.杠杆的定义在力的作用下绕着固定点转动的硬棒叫杠杆。
2.杠杆的五要素

08b9ad11e14ae9bc9f4ba07637d775b5.png
(1)支点:杠杆绕着转动的固定点。(0表示)
(2)动力:使杠杆转动的力。(F1表示)
(3)阻力:阻碍杠杆转动的力。(F2表示)
(4)动力臂:从支点到动力作用线的距离。(L1表示)
(5)阻力臂:从支点到阻力作用线的距离。(L2表示)
.研究杠杆的平衡条件
1.杠杆平衡是指:杠杆静止或匀速转动。
2.实验前:应调节杠杆两端的螺母,使杠杆在水平位置平衡。
这样做的目的是:可以方便的从杠杆上量出力臂。

5299593330b26411696268ada047543e.png
3.结论:杠杆的平衡条件(或杠杆原理)是: 动力×动力臂=阻力×阻力臂。写成公式F1l1=F2l2 也可写成:F1 / F2=l2 / l1
4.解决杠杆平衡时动力最小问题:
此类问题中阻力×阻力臂为一定值,要使动力最小,必须使动力臂最大,要使动力臂最大需要做到
①在杠杆上找一点,使这点到支点的距离最远  ②动力方向应该是过该点且和该连线垂直的方向。
.杠杆的分类
1.由杠杆平衡原理进行杠杆分类

02cde36c8039fd901c4727746d09494b.png
2.杠杆两个力的关系:
  • 力在支点同侧:力指向杠杆两侧  (2)力在支点两侧:力指向杠杆同侧

456f9702df6783cc1e5d956aa3784ac4.png          
6751b68972ded3ec75b3216d6737825d.png
3.有质杠杆:杠杆自身的质量作为阻力影响,受力分析时以一端为支点,分析另一端的力。

ba663ba5b35a32215f1affadbfbea9bb.png
6160f9252704232ff24212990518ebae.png
8.多力臂:对于同一个杠杆,有着多个力共同作用得到一个平衡的效果,或原已平衡的杠杆动态分析
<Object: word/embeddings/oleObject1.bin>
7ed3b60660901556f756a606c8642025.png

一、选择题
1.如图是一种切甘蔗用的铡刀示意图。为了切断甘蔗,下列最省力的是(  )

b857e1ba7193513bbfe7b2727698a29c.png   
A.F1        B.F2        C.F3        D.F4
2.如图所示,一根粗细和质量分布都均匀的硬棒置于支点O上,左端用细绳固定在物体A上,一个重为G的小球从O点开始向右滚动(物体A始终未离开地面),小球滚动过程中物体A对地面的压强p与小球到O点之间的距离s之间的关系图像为(  )

45dad4229362a48f7addb7a81535b003.png   
A.
a0b8a07e8824db60babcb52682faf8a4.png   B.
8e9cf3c040c498b0e6ac70f5e35c9649.png   C.
3be3a2ef4efbd89205f981e92f7bd8cf.png   D.
796dd1e568a134f51ed88f36211be609.png   
3.如图所示,轻质杠杆ABO点转动,某同学在杠杆的左端挂一重为G的物块,在A端施加一个始终竖直向下的动力F,将重物慢慢提升到一定高度,使杠杆处于图示的位置静止。下列说法错误的是(  )

d2ffc45d10823e82f36410555fa872db.png   
A.此时杠杆是平衡的        B.此时该杠杆是省力杠杆
C.此时数值关系<Object: word/embeddings/oleObject2.bin>        D.要使A端的力最小,则F的方向应垂直OA向下
4.小金在做“研究杠杆平衡条件”的实验时,先后出现杠杆右端下降的现象。为使杠杆水平平衡,下列操作正确的是(  )

d7680fe86fc198e4412e4aab30be6275.png
A.图甲中左平衡螺母向左调:图乙中右侧平衡螺母向左调
B.图甲中左平衡螺母向右调;图乙中右侧平衡螺母向左调
C.图甲中右平衡螺母向左调;图乙中右侧钩码向左移动
D.图甲中右平衡螺母向右调:图乙中右侧钩码向左移动
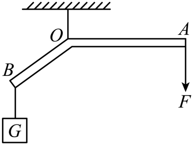
5.如图所示的杠杆提升重物G,杠杆顺时针方向转动,在OB达到水平位置之前的过程中,若力F的方向始终保持与OA垂直,则力的大小将(  )

b54817f2e7b234dc6e2407bf9048886d.png
A.逐渐变小        B.逐渐变大        C.不变        D.无法确定
6.为使杠杆保持水平位置平衡(如图),需在A点施加一个力。图中不能使杠杆平衡的力是(  )

3f8872437760aca32fe30a5007805697.png
A.F1F2        B.F1F4        C.F2F3        D.F3F4
7.人踮脚时脚掌可以看作一个杠杆,下列能正确表示踮脚时该杠杆的支点、动力和阻力的示意图是(  )
A.
3d289e3a101056efe130ccbaf170527c.png B.
9be7cefe229a8be043d7442b2fe73f1a.png C.
7fb6c5142b04529080eb51a0ddbed656.png D.
21a0bcbe06deb78a1bef9a07c77af03b.png
8.下列属于省力杠杆的是(  )

c9d9611f681480121e852ce7c5c3a1af.png
4edc34d91210e38cb2abad0b37958958.png
0634dcafb711adfce9a8dcbd31be37ce.jpg
92e29deb15ae4e534a0751887bc476df.png
A.划船时的船桨           B.剪铁皮的剪刀         C.食品夹              D.举起哑铃的前臂
9.如图所示筷子盒。在A处施加向下的力时,筷子会从出口滚出。忽略筷子的压力,以下能正确表示按下A处时杠杆示意图的是(  )  

de8ba37c7689156d7179df053a945d5e.png
A.
75104d9d11e1a3aa2d1feb8477d11415.png B.
f4eaa8c4daba1464db074252e8eae1e1.png C.
3b9f2f91ee23138cfdb76d187b30d98d.png D.
69dc40a1787c8047f5a33680c3c0c6a1.png
10.如图所示,圆弧形轨道CD固定,水平杠杆OAA端恰在圆的圆心处,小圆环E套在轨道上通过细线与水平杆OA端相连,一重物G悬挂在杠杆上的B点。在E环从C点沿轨道顺时针转到D点的过程中,细线对A端的拉力F的变化情况,以下说法正确的是(  )  

c587191b3c6a279481aa2f21f85c98ee.png
A.保持不变    B.先变小再变大     C.一直变小    D.先变大再变小
11.如图所示,是我国古代《墨经》最早记述了秤的杠杆原理(如图所示),此时杠杆处于平衡状态,有关它的说法错误的是(  )

d3689198e9bacf549df909c8ac81d86d.png
A.“标”“本”表示力臂,“权”“重”表示力          B.“权”“重”增加相同的质量,A端会上扬
C.增大“重”时,应把“权”向A端适当移动       D.若将提纽OB端移动一些,杆秤测量范围变大
12.如图所示是环卫工人用的一种垃圾夹的结构示意图。拉绳的一端固定在手把上,另一端穿过空心管杆与两夹爪的一端相连,当用力捏手把时,夹爪在拉绳的作用下可夹持物体,同时弹簧被压缩;当松开手把时,夹爪在弹簧的作用下恢复原状。在使用过程中,手把和夹爪分别是(  )

11184df8ef1f869cea6a97f412c09569.png
A.省力杠杆,费力杠杆        B.费力杠杆,省力杠杆
C.省力杠杆,省力杠杆        D.费力杠杆,费力杠杆
13.如图甲所示的水龙头,徒手很难拧开。用图乙所示的“钥匙”,安装并旋转“钥匙”就能正常出水(如图丙所示)。下列有关这把“钥匙”在使用过程中的分析,正确的是(  )

205c7db97c24224d279ffeb28c33ac25.png
A.减小阻力      B.减小阻力臂    C.增大动力        D.增大动力臂
二、填空题
14.如图所示,推走独轮车之前,先将其撑脚抬离地面。慢慢抬起的过程中,独轮车属于(选填“省力”或“费力”)杠杆。已知车厢和砖头的总重力G=800N,则图中人手竖直向上的力为N。若施加在车把手向上的力始终与把手垂直,则慢慢抬起的过程中这个力的大小(选填“逐渐增大”、“逐渐减小”或“始终不变”)。

2db1a5dc2e1c79d9360fec644a893dce.png
15.如图甲所示,长木板重10N,长木板底面积为100cm2,现将其底面积50cm2与水平桌面接触,木板静止时对桌面的压强为Pa;在水平外力作用下推动木板缓慢向左运动,直至木板全部移到桌面上,在这个过程中,木板所受摩擦力的大小(选填“变大”“变小”或“不变”)。小明做了图乙的探索,长木板长度为L,将该长木板的0.2L长度伸出桌子边缘,用竖直向下的力F0压长木板的一端,当F0=时,长木板刚好会被翘起。

4846138257e5f8d67690b9cf260d581b.png
16.杭温铁路建成通车后,仙居到杭州不到1小时,目前正在建造中。在建造过程中需要使用大型起重机“龙门吊”。它主要由主梁和支架构成,可以提升与平移重物,其示意图如图所示:

18bb587819038b6e9707f7950d8c399e.png
(1)“龙门吊”将<Object: word/embeddings/oleObject3.bin>千克的重物先从地面提升到8米,再向左平移6米到工作台,在这整个过程中“龙门吊”对重物做功的大小是焦。
(2)已知重物的重力为G,主梁总长为L,不考虑主梁自身重力。重物由主梁右侧向左侧移动,当移动的距离为s时,以主梁左端点为支点,右支架对主梁的支持力F的表达式(用所给字母表示)。
17.我国古代记录传统手工技术的著作《天工开物》里记载了一种捣谷用的春,“横木穿插硬头,嘴为铁,足踏其末而舂之”,如图甲所示。图乙为脚向下施加力F1踩舂时在某一位置的示意图。

bb9f12b043eb23889d48e75aad8d7378.png
(1)若碓头质量为10千克,在图示位置保持平衡时,l1=40厘米,l2=1.2米,不计横木的重力和摩擦,则脚向下施加的力F1=;
(2)如果想省力些,可将脚踩点适当(选填“远离”或“靠近”)O点。
三、探究题
18.如图所示,将长为1.2米的轻质木棒(重力忽略不计)平放在水平方形台面上,左右两端点分别为AB,它们距台面边缘处的距离均为0.3米。在A端挂一个重为30牛的物体,在B端挂一个重为G的物体。
(1)若G=30牛,台面收到木棒的压力为多少?
(2)若要使木棒右端下沉,B端挂的物体至少要大于多少?
(3)若B端挂物体后,木棒仍在水平台面上保持静止,则G的取值范围为多少?

7561e90cee41505725d58e15dd78b2da.png
19.某实践小组在老师的指导下,动手制作量程为20g,最小刻度为1g的杆秤(如图)。

c9dea1beadb6a8c071c15b8ad222a98c.png
【制作步骤】
①做秤杆:选取一根粗细均匀的木棒,在木棒左端选择两点依次标上“A”、“B”;
②挂秤盘:取一个小纸杯,剪去上部四分之三,系上细绳,固定在秤杆的“A”处;
③系秤纽:在秤杆的“B”处系上绳子;
④标零线:将5g的砝码系上细绳制成秤砣,挂到秤纽的右边,手提秤纽,移动秤砣,使秤杆在水平位置处于平衡状态,在秤砣所挂的位置标上“0”;
⑤定刻度。
【交流评价】
(1)步骤④在该位置标零线的目的是;
(2)已知秤杆的刻度是均匀的,这种均匀的刻度是如何标定的呢?请你简要描述秤杆刻度标定的方案;
(3)使用一段时间后,若秤砣磨损,则测量结果会(选填“偏小”或“不变”或“偏大”)。
四、简答题
20.为了防止门被风吹动,常在门背后和墙上安装如图甲所示的“门吸”。图乙是简化后的模型。门可以绕轴O自由转动,门宽为1.2米。“门吸”与O位置关系、“门吸”引力大小和方向如图乙所示。(摩擦力忽略不计)

45ad689178a4ffeed520cd174265aab0.png
(1)关门时可将门看成一个杠杆,以下杠杆类型与之相同的是;

9a0e094982ec69ec17121a1926fb3985.png
6da142e5b0c6de85e1dc5ad67975d56b.png
4dafa0ebf7a5992b999069473e008e5d.png
7b570a54d225d20e03fd6e5700f143d6.png
①行李车         ②晾衣竹竿             ③做俯卧撑             ④弯腰取物
(2)关门所需的最小力F是牛。
参考答案
1B
解析】为了能切断甘蔗,动力的方向需向下,阻力和阻力臂不变,由杠杆平衡条件可知,动力臂越大,动力越小,要使最省力,动力臂最大,由动力臂的定义可知F2的力臂最大,所以手沿F2方向最省力,故B符合题意,ACD不符合题意。
故选B
2B
解析】由杠杆平衡条件可得                FA×OA=G×s
由于OAG不变,所以FAs成正比,则物体A对地面的压力随s增大而减小,且比值不变;由于物体A与地面的接触面积不变,所以物体A对地面的压强ps增大而减小,且比值不变,故B符合题意,ACD不符合题意。
故选B
3C
解析A.杠杆处于图示的位置静止,此时杠杆是平衡的,故A正确,不符合题意;
B.如下图所示,此时该杠杆的动力臂l1大于阻力臂l2,故此时是省力杠杆

cef02244b294faeae0a6a995c4d788d1.png    
B正确,不符合题意;
C.此时杠杆平衡,由杠杆平衡条件得G×l2=F×l1,由两个直角三角形相似得    <Object: word/embeddings/oleObject4.bin>
所以此时                               G×OB=F×OA
C错误,符合题意;
D.要使A端的力最小,需要动力臂最长,即动力臂为OA时,动力最小,则F的方向应垂直OA向下,故D正确,不符合题意。
故选C
4C
解析】由图甲可知,是在探究之前,杠杆右端下降,因此应将平衡螺母向左调节,由图乙可知,是在探究过程中,杠杆右端下降,应将钩码向左移动,故C正确,ABD错误。
故选C
5B
解析】根据杠杆平衡条件                        <Object: word/embeddings/oleObject5.bin>
分析,将杠杆顺时针方向转动,在OB达到水平位置之前的过程中,动力臂不变,阻力不变,阻力臂变大,所以动力变大,故ACD不符合题意,B符合题意。
故选B
6D
解析F1F2使杠杆转动的方向与重物与杠杆转动的方向相反,可以使杠杆平衡;F3的力臂为零,不能使杠杆平衡;F4使杠杆转动的方向与重物与杠杆转动的方向相同,不能使杠杆平衡,故D符合题意,ABC不符合题意。
故选D
7A
解析】人踮脚时,脚尖与地面接触的位置可以看作杠杆的支点,作用在脚掌中心处向下的重力相当于阻力,作用在脚跟处肌肉施加的向上的力为动力,故A符合题意,BCD不符合题意。
故选A
8B
解析A.划船时,船桨和船身的连接处为支点,水对船桨的阻力作用在桨头上,动力作用在手上,此时动力臂小于阻力臂,为费力杠杆,故A不符合题意;
B.剪铁皮的剪刀,中间的转轴为支点,阻力作用在刀口上,动力作用在手柄上,此时动力臂大于阻力臂,为省力杠杆,故B符合题意;
C.使用食品夹时,两个夹片的连接处为支点,阻力作用在夹片顶端,动力作用在手柄中间,此时动力臂小于阻力臂,为费力杠杆,故C不符合题意;
D.举起哑铃时,肘部为支点,阻力作用在手掌上,动力作用在肱二头肌上,此时动力臂小于阻力臂,为费力杠杆,故D不符合题意。
故选B
9A
解析】根据图片可知,O处为支点,当用力向下按A点时,A点的压力F1向下,而弹簧施加的阻力F2方向向上,因此松手后,装置向上运动,从而阻挡筷子继续滚出,故A符合题意,BCD不符合题意。
故选A
10B
解析】根据图片可知,在E环从C点顺时针转动到D点的过程中,当EA与杠杆AO垂直时,动力臂最长,根据杠杆的平衡条件F1L1=F2L2可知,此时动力最小,因此拉力F的变化情况为先变小后变大,故B正确,而ACD错误。
故选B
11B
解析A.力臂是支点到力的作用线的距离,相当于现在的砝码,即动力,把秤的支点到权的距离称之为,在物理中,我们把它称之为动力臂;重就是重物,相当于杠杆的阻力,把秤的支点到重的距离称之为,在物理中,我们把它称之为阻力臂;则表示为力臂,表示为力,故A正确,不符合题意;
B.根据杠杆平衡条件得到                  Gl=Gl
”“增加相同的质量,杠杆左端          (G+G)l= Gl+Gl
杠杆右端                            (G+G)l=Gl+Gl
因为                                   ll
所以                                    GlGl
杠杆左端力和力臂的乘积较大,A端会下降,故B错误,符合题意;
C.增大时,由于不变,根据杠杆平衡原理条件可知:应把变大,即把A端移,故C正确,不符合题意;
D.若将提纽OB端移动一些,支点向右移动一些,力臂OB减小,根据杠杆平衡条件重物的重力要增大,测量范围增大,故D正确,不符合题意。
故选B
12A
解析】手把和夹爪的杠杆示意图如下:

1487e22f198530ff15df39196b414c73.png
在使用手把时(左图),作用在手把处的力F是动力,拉绳对手把处的拉力是阻力F1
由图可以看出:动力臂要大于阻力臂,因此是手把处是省力杠杆。
在使用夹爪时(右图),拉绳的拉力F1是动力,夹爪处受到的阻力F2是阻力;
由图可以看出:动力臂要小于阻力臂,因此夹爪处是费力杠杆。
故选A
13D
解析】分析可知,安装并旋转钥匙后,阻力臂不变,阻力不变,但动力臂变大,由杠杆平衡的条件F1L1=F2L2可知,动力变小,故D正确,ABC错误。
故选D
14     省力     160     逐渐减小
解析[1]独轮车在使用过程中,动力臂大于阻力臂,是省力杠杆。
[2]由图可知,阻力臂                <Object: word/embeddings/oleObject6.bin>
动力臂                <Object: word/embeddings/oleObject7.bin>
阻力                   F2G800N
由杠杆平衡条件得             <Object: word/embeddings/oleObject8.bin>
[3]向上施加在车把手上的力始终与把手垂直,则动力臂大小不变,而阻力G不变,阻力臂变小,由杠杆平衡条件可得,动力将变小,故慢慢抬起的过程中这个力的大小逐渐减小。
15     2×103/2000     不变     15
解析[1]木板静止时对桌面的压力         F=G=10N
木板静止时对桌面的压强           <Object: word/embeddings/oleObject9.bin>
[2]在水平外力作用下推动木板缓慢向左运动,直至木板全部移到桌面,在这个过程中,木板对桌面的压力不变,木板和桌面的接触面的粗糙程度不变,则受到的摩擦力不变。
[3]长木板刚好会被翘起,此时杠杆的支点是桌子边缘,根据杠杆的平衡条件可知  F0×0.2L=G×(0.5L-0.2L)
                           F0×0.2L=10N×(0.5L-0.2L)
解得                                F0=15N
16     <Object: word/embeddings/oleObject10.bin>     <Object: word/embeddings/oleObject11.bin>
解析】(1[1]重物的重力       G=mg=5×103kg×10N/kg=5×104N
整个过程中龙门吊对重物做功            W=Gh=5×104N×8m=4×105J
2[2]重物由主梁右端缓慢移到左端的过程中,以左侧的支柱为支点,右支架对主梁的支持力F为动力,重物对杠杆的拉力为重力,大小等于物体的重力G,动力臂为整个主梁的长度,设为L,阻力臂为   L-s
根据杠杆平衡条件         FL=GL-s
得支持力                         F=<Object: word/embeddings/oleObject12.bin>
17     300N     远离
解析】(1[1]根据杠杆的平衡条件得到   Fl11=F2l2     Fl11=mgl2
<Object: word/embeddings/oleObject13.bin>
2[2]如果想省力些,动力减小,阻力和阻力臂不变,由杠杆平衡条件可知增大动力臂,可以减小动力,可将脚踩点适当远离O点。
18.(160N;(290N;(310N≤GB≤90N
解析】解:(1)竖直向下的拉力和台面竖直向上的支持力,即    F支持=F拉力=2G=2×30N=60N
因为木板对台面的压力和台面对木棒的支持力是一道相互作用力,大小相等,即   F压力=F支持=60N
2)此时                             L=1.2m-0.3m=0.9m       L=0.3m
根据杠杆的平衡条件知道             GA×L=GB×L
B端挂的物体的重力             <Object: word/embeddings/oleObject14.bin>
3)若以右边缘为支点,右边力臂最小,力最大为90N;若以左边缘为支点,右边力臂最大,力最小,此时                 L′=0.3m                    L′=1.2m-0.3m=0.9m
最小为                    <Object: word/embeddings/oleObject15.bin>
答:(1)若G=30牛,台面收到木棒的压力为60N
2)若要使木棒右端下沉,B端挂的物体至少要大于90N
3)若B端挂物体后,木棒仍在水平台面上保持静止,则G的取值范围为10N90N
19     避免秤杆自重(除秤砣外)对实验的影响     见解析     偏大
解析】(1[1]B点是支点,当在秤盘上没有放置物体时,秤砣挂在“0”点与杆秤自重平衡,所以步骤标零线的目的是避免杆秤自身重力对称量的干扰。
2[2]先在秤盘上放20g砝码(或物体),移动秤砣直至秤杆处于平衡状态,在秤砣所挂的位置标上20,再将0~20之间分为20等份,依次标上相应刻度。
3[3]使用一段时间后,若秤砣磨损,测量同一物体的质量,由图可知,左边的力和力臂不变,右边的力减小,由杠杆的平衡条件可知,右边力臂增大,所以测量的质量会偏大。
20     ①③     4
解析】(1[1]根据图乙可知,门吸离支点较近,而手作用在边缘,离支点较远,此时动力臂大于阻力臂,为省力杠杆。
推行李车时,车轮为支点,重力为阻力,动力作用在手柄的边缘,此时动力臂大于阻力臂,为省力杠杆。
拿起晾衣杆时,靠近胸口的手为支点,另一只手施加动力,而衣服施加的阻力作用在杆的顶端,此时动力臂小于阻力臂,为费力杠杆。
做俯卧撑时,脚尖为支点,重力为阻力,手施加动力,此时动力臂大于阻力臂,为省力杠杆。
抬起物体时,腰为支点,物体的重力相当于阻力,手施加动力,此时动力臂小于阻力臂,为费力杠杆。
故选①③
2[2]已知O为支点,利用杠杆平衡条件可得           FL门宽=F引力L引力
                                  F×1.2m=6N×0.8m
解得F=4N

您需要登录后才可以回帖 登录 | 立即注册

本版积分规则

Archiver|手机版|小黑屋|5432教案网 ( 蜀ICP备2022024372号-1 |川公网安备51152402000101号 )|网站地图

GMT+8, 2026-5-11 02:15 , Processed in 0.855940 second(s), 31 queries .

Powered by Discuz! X3.5

© 2001-2026 Discuz! Team.

快速回复 返回顶部 返回列表