找回密码
 立即注册
搜索
查看: 6|回复: 0

[人教版] (必修3)10.4 电容器的电容(教案1)

[复制链接]

4万

主题

224

回帖

19万

积分

管理员

积分
190320
发表于 2026-4-8 06:06:12 | 显示全部楼层 |阅读模式
电容器的电容
【教学目标】
1了解电容器概念及基本作用。
2.了解电容器的结构,了解常用电容器种类。
3.知道平行板电容器的电容跟哪些因素有关,有什么关系?
【教学重点】
电容的概念,影响电容大小的因素
【教学难点】
电容的概念,电容器的电量与电压的关系,电容的充、放电
【教学过程】
一、新课引入
教师:两块相互靠近,平行放置的金属板,如果分别带上等量异种电荷,它们之间有没有电场?
两金属板间有没有电势差?
教师归纳小结
由此可见,相互靠近的两金属板构成的装置具有储存电荷的作用,或者说它可以容纳电荷,而两板所带正、负电荷越多,板间电场就越强,两板间的电势差就越大。

56370483bd5c30471c05e8f9c5bd0f74.png 那么有什么方法可以使两金属板带上正、负电荷呢?
将两金属极分别按到电源的正、负两板上(同时画出电路)
“25V4700μF”电容器(出示实物)充以16V电压,然后短路放电产生白炽的火花,并发出较大的声响。然后教师明确告诉学生“电容器可以容纳电荷”。
如何解释这一现象呢?(学生疑惑)现在我们来学习有关电容器的知识。
二、新课教学
1.电容器
电容器是电气设备中的一种重要元件,在电子技术、电工技术中有很重要的应用。收音机、电视机、充电器、电风扇、日光灯等电器中有广泛的应用。
1电容器的构成
在两个相互靠近的导体中间夹上一层绝缘物质(也叫电介质)就是一个电容器。这两个导体叫做电容器的两个极。
教师出示平行板电容器、纸介电容器(展开),介绍它们的内部结构,并指出平行板电容器是最简单的电容器,再介绍一般电容器的符号
2.常用电容器
教师介绍常用电容器的种类:
1)固定电容器:电容固定不变。
2)可变电容器:两极由两组铝片组成,固定的一组铝片叫做定片;可以转动的一组铝片叫做动片;空气为电介质。(通过改变两极间的正对面积或距离来改变电容。)
3.电容器使用时应注意的问题
通过演示电容器上的参数强调电容器使用时应注意的问题:
1)电容器的击穿电压
加在电容器两极板上的电压不能超过某一限度,超过这个限度,电介质将被击穿,电容器损坏,这个极限电压称为击穿电压。
2)电容器的额定电压
电容器正常工作时两极板上的最大电压。
电容器外壳上标的就是额定电压,它比击穿电压要低。
3)电解电容器的极性
电解电容器在使用时注意正负极,长引脚为正极。
【例题1
某电容器上标有“1.5 μF 9 V”的字样,则( B
A.该电容器所带电荷量不能超过1.5C
B.该电容器所加电压不能超过9 V
C.该电容器击穿电压为9 V
D.当给该电容器加4.5 V的电压时,它的电容值变为0.75 μF
4.电容器充放电
使电容器带电叫做充电,把电容器的一个极板接电池组的正极,另一个极板接电池组的负极,两个极板分别带上了等量的异种电荷,电容器的一个极板上所带电量的绝对值叫做电容器所带的电量,充了电的电容器的两极板之间有电场。两板之间有电势差(电压)
使充电后的电容器失去电荷叫做放电,用一根导线把电容器的两极接通,两极上的电荷互相中和,电容器就不带电了,放了电后两极之间不再存在电场,也没有电势差。
教师讲解充、放电过程电荷移动,电场、电势差的变化。

77d408e88a9e950a3a5c7dd5fc9a0cbd.png
5.电容
电容器充电后的带电量跟两极板间电势差有什么关系?(学生疑惑,思考片刻)我们用实验来分析。
分别用8V12V16V电源给“25V 4700μF”电容器充电,再放电,观察放电的火花与声响(增加学生感性认识)。
结果
“25V 4700μF”充8V,放电产生桔红色火星,几乎无声音。
12V,放电产生白色炽光,有声音。
16V,放电产生更强的白炽火花,很大声音。
由此可知,电容器充电后的带电量Q,是跟它的两极间的电势差(电压)有关的。两极间电势差随所带电量的增加而增加。
用不同电容器重做上述实验,又如何?
16V电源分别给“25V 4700μF”和“25V 1000μF”的电容器充电,再放电。
结果
“25V 4700μF”放电产生白炽的火花放电
“25V 1000μF”放电产生桔红色的火星放电
由此可知,不同的电容器,电势差增加1V所需要增加的电量是不同的。
师生总结实验结果
同一电容器,两极间电势差随所带电量的增加而增加,对不同的电容器,电势差增加1V所需要增加的电量是不同的。
为了表示这种特征,我们把使电容器的两极间的电势差增加1V所需的电量,叫做电容器的电容。
两极板间的电势差增加1伏所需的电量多,电容器的电容大。所需电量少,电容器的电容小。因此,电容是表征电容器容纳电荷的本领大小的物理量。
这种情形相当于直筒容器容纳水的情形,以下两个不同的容器,要使水面升高1cm所需的水量不同,乙容器比甲容器所需要的水量多,说明了乙容器容纳水的本领比甲容器大。(类比法)

4df1493a4224fe2586d25438d713b7f2.png
电容器
水容器
容纳储存电荷
容纳储存水
电荷量Q
水量V
电势差U
水位差h
电容C
横截面S
电容的符号是C,国际单位制里电容的单位是法拉,简称法,符号是F
教师说明法的含义,再介绍较小的单位微法、皮法。
1μF=10-6F           1pF=10-6μF=10-12F
电容是表征电容器容纳电荷特性的物理量,它的大小是由电容器的本身结构决定的(如装水容器的装水本领由容器本身结构决定一样)电容器的电容跟两极板的正对面积、两极板的距离以及两极板间的电介质都有关系,增大两极板正对的面积,电容就增大。减少极板间距离,电容也增大。
6.平行板电容器电容
电容器中具有代表性的一种。
1)构成:两块平行相互绝缘金属板。
构成里可强调一下:①两极间距d;②两极正对面积S
描述一对平行板的几何特性。
注意说明,两板所带电量应是等量异号的(前面实验已证明)。

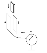
0664e36918fd3af50af67f1a4722510c.png 2)量度:<Object: word/embeddings/oleObject1.bin>Q是某一极板所带电量的绝对值。
3)影响平行板电容器电容的因素:
实验:先说明静电计的作用:指针偏角越大,指针与壳间电势差越大。
充电完毕后,断开极板AB与起电机连线,Q不变,改变AB极板间距离,可见板间距增大时,静电计指针偏角变大,板间距减小时,静电计指针偏角减小。

28327a2d508bfe7509d7be18f9bf451b.png
分析:d增大,C<Object: word/embeddings/oleObject2.bin>Q不变,U增大,C减小。d增大,C<Object: word/embeddings/oleObject3.bin>U减小,C增大。
①理论和实验精确证明:C<Object: word/embeddings/oleObject4.bin>
实验:改变AB两板正对面积S,可观察到S增大时,指针偏角变小;S减小时,指针偏角变大。
分析:Q不变,U减小,C<Object: word/embeddings/oleObject5.bin>C增大,S增大。Q不变,U增大,C<Object: word/embeddings/oleObject6.bin>C减小,S减小。
②理论和实验可精确证明:CS
实验:固定AB位置不变,把电介质板插入,可观察到电介质板进入过程中,静电计指针偏角变小。

3ccb96183066314f66c8a8e55ca28981.png
分析:Q不变,U变小,C<Object: word/embeddings/oleObject7.bin>C变大。
电介质一般指绝缘物质,无自由电荷,电荷可在平衡位置附近做微小振动。当绝缘物质处于外加电场中时,这些电荷受力,其分布将发生一定的变化,在靠近正极板表面上出现负电荷,在靠近负极板表面上出现正电荷。这些电荷不是自由电荷,而是被束缚在电介质上,不能自由移动。这些束缚电荷使板间电场削弱,两板间电势差U降低,从而使静电计指针偏角减小。
③两极板间插入电介质时比不插入电介质时电容大。

a18680769751b7c4ed46480b47362602.png
给出平行电容电容公式:C<Object: word/embeddings/oleObject8.bin>,ε为介电常数,k为静电力恒量。
这里也可以用能的观点加以分析:电介质板插入过程中,由于束缚电荷与极板上电荷相互吸引力做功,电势能减少,故电势差降低。
4)几种常用电介质的相对介电常数
电介质
空气
煤油
石蜡
陶瓷
玻璃
云母

1.0005
2
2.0~2.1
6
4~11
6~8
81
5)平行板电容器内电场:
实验:(建议)在一块金属板上固定一些细尼龙丝,把两金属板平行正对放置,并用起电机使两板带电,可见尼龙丝几乎垂直于板,且相互平行地立起来。从细尼龙丝的分布情况,可看出板间电场的特点。

7b439b00e3f658ccee7f4b82a7b2dc9a.png ①板间电场可看作匀强电场:E=U/d
U为两板间电势差,d为两板间距。
②场源关系
E<Object: word/embeddings/oleObject9.bin>
C<Object: word/embeddings/oleObject10.bin>   E<Object: word/embeddings/oleObject11.bin>
Q不变,板间电场强度E与板间距无关。
U不变,电容器始终与电源两极相连,Ed成反比,Q=CUQd也成反比。
【例题2
如图所示,是一个由电池、电阻R与平行板电容器组成的串联电路,在增大电容器两极板间距离的过程中(   
A.电阻R中没有电流
B.电容器的电容变小
C.电阻R中有从a流向b的电流
D.电阻R中有从b流向a的电流
【拓展提高1
用两节相同的电池分别给两个原来不带电的电容器充电,已知C1<C2,当电容器达到稳定时,电容器C1C2的带电量分别为Q1Q2,则(   
AQ1<Q2        BQ1>Q2
CQ1=Q2        D.无法确定
【拓展提高2
平行板电容器充电平衡后仍与电源相连,两极板间的电压是U,电荷量为Q,两极板间场强为E,电容为C,现将两极板间距离减小,则(   
AQ变大                   BC变大
CE不变                   DU变小
您需要登录后才可以回帖 登录 | 立即注册

本版积分规则

Archiver|手机版|小黑屋|5432教案网 ( 蜀ICP备2022024372号-1 |川公网安备51152402000101号 )|网站地图

GMT+8, 2026-4-17 12:12 , Processed in 3.405590 second(s), 32 queries .

Powered by Discuz! X3.5

© 2001-2026 Discuz! Team.

快速回复 返回顶部 返回列表