找回密码
 立即注册
搜索
查看: 12|回复: 0

[人教版] (必修3)13.1磁场 磁感线 (导学案2)

[复制链接]

4万

主题

224

回帖

19万

积分

管理员

积分
190320
发表于 2026-4-8 07:12:17 | 显示全部楼层 |阅读模式
第十三章 第1节 磁场 磁感线
【学习目标】
1.了解磁现象。了解电和磁的联系,了解电流磁效应的发现过程。体会奥斯特发现的重要意义,体会探索自然奥秘的艰难与克服困难带来的成就感。
2.知道磁场的基本特性。知道磁感线,知道几种常见磁场磁感线的空间分布情况。体会如何使用形象化的手段描述物理现象。
3.会应用安培定则判断通电直导线和通电线圈周围磁场的方向。
4了解安培分子电流假说。
【课前预习】
一、电和磁的联系

6ca08eea5c5177628550dafc29eb3084.png
1.磁极:自然界中的磁体总是存在磁极。
2.磁极间的作用:同名磁极相互排斥,异名磁极相互吸引
3.电流的磁效应
(1)奥斯特实验:通电导线放在小磁针上方,使小磁针发生了偏转
(2)实验结论:电流可以产生磁场——发现了电流的磁效应
二、磁场

5952f688392fbf2aa344056e25e75423.png
883489f9851a2ab6d19492034017feb5.png
19c7974284d5115dff7e2c6b0c7ce79d.png
1.定义:磁体与磁体之间,磁体与通电导体之间,以及通电导体与通电导体之间的相互作用,都是通过磁场发生的。
2.基本性质:对放入其中的磁体电流有力的作用。
三、磁感线
1.磁场的方向规定:小磁针静止时N极所指的方向。
2.磁感线:用来形象地描述磁场的曲线,曲线上每一点的切线方向都跟这点磁场的方向一致。
3.常见永磁体的磁场

8de72bc03bd1c0c124200ec2267711d6.png
4.磁感线特点:
(1)为形象描述磁场而引入的假想曲线,实际并存在;
(2)磁感线的疏密表示磁场的强弱
(3)磁感线在磁体外部从N极指向S极,磁体内部从S极指向N极;
(4)磁感线闭合而不相交,不相切,也不中断。
(5)磁感线上某点的切线方向表示该点的磁场方向。
四、安培定则
1.直线电流的磁场:右手握住导线,让伸直的拇指所指的方向与电流方向一致,弯曲的四指所指的方向就是磁感线环绕的方向。
2.环形电流的磁场:让右手弯曲的四指与环形电流的方向一致,伸直的拇指所指的方向就是环形导线轴线上磁场的方向。
3.通电螺线管的磁场:右手握住螺线管,让弯曲的四指所指的方向跟螺线管电流方向一致,拇指所指的方向就是螺线管轴线上磁场的方向,或拇指指向螺线管的N
安培定则
立体图
横截面图
纵截面图
直线电流

7936e67cbe2f8ba6db3150e00dc6eba4.png

012431f666aa1b7fff3f5257ae9c700c.png

1d76286df7311cc906f7a79f702776e9.png

69786ba676836e24e1493329139e2a9a.png
以导线上任意点为圆心垂直于导线的多组同心圆,离导线越近越密,磁场越强
环形电流

4a2183e78b9e8f1cdde617673da2d7df.png

df76965daaa21b72c1aa087355db2630.png

6701c1973440b06154273ea7db142b34.png

90ef419c02a54ebaf3e9e70b8cac2975.png
环内磁感线条数与环外相等,磁感线越向外越稀疏,故环内磁场比环外强
通电螺线管

72629f024adb394abf4871ab1520105e.png

1579efa5f0dafd6c9b0b55b5ce976019.png

09cb9c7efe54a0bd434e729a483c66df.png

84a32d7791099be4e1fd829071bddd01.png
内部为匀强磁场且比外部强,方向由S极指向N极;
外部类似条形磁铁,由N极指向S极
五、安培分子电流假说
1.分子电流假说:安培认为,在原子、分子等物质微粒的内部,存在着一种环形电流,即分子电流。分子电流使每个物质微粒都成为微小的磁体,它的两侧相当于两个磁极
2.分子电流假说意义:能够解释磁化以及退磁现象,解释磁现象的电本质,即磁体的磁场和电流的磁场一样,都是由运动的电荷产生的。

f73eb92586c08f07646200b9ba0ae2e4.png
▲判一判
(1)天然磁体和人造磁体都能吸引铁质物体。        (√)
(2)磁场看不见、摸不着,因此磁场是人们假想的,实际并不存在。        (×)
(3)在磁场中,小磁针S极的受力方向就是该点磁场方向。        (×)
(4)用磁感线描述磁场时,没有磁感线的地方就没有磁场。        (×)
(5)磁感线可以用细铁屑来显示,因而是真实存在的。        (×)
【学习过程】
任务一:对磁场的理解
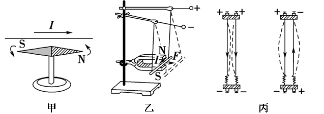
[例1] (多选)关于磁铁、电流间的相互作用,下列说法正确的是(  )

c0a18e0c5448bffe2a3ad055703d570b.png
A.甲图中,电流不产生磁场,电流对小磁针力的作用是通过小磁针的磁场发生的
B.乙图中,磁体对通电导线的力是通过磁体的磁场发生的
C.丙图中电流间的相互作用是通过电流的磁场发生的
D.丙图中电流间的相互作用是通过电荷的电场发生的
思路点拨:(1)磁体和电流的周围都存在磁场。
(2)磁场对放入其中的磁体或电流有力的作用。
BC [甲图中,电流对小磁针力的作用是通过电流的磁场发生的;乙图中,磁体对通电导线力的作用是通过磁体的磁场发生的;丙图中,电流对另一个电流力的作用是通过该电流的磁场发生的。综上所述,选项B、C正确。]
[变式训练1-1] (多选)关于磁场,下列说法正确的是(  )
A.磁场的基本性质是对放入其中的磁体和电流有力的作用
B.磁场看不见、摸不着,实际不存在,是人们假想出来的一种物质
C.磁场是客观存在的一种特殊的物质形态
D.磁场的存在与否取决于人的思想,想其有则有,想其无则无
AC [磁场的定义:磁体或电流周围存在一种特殊物质,可以对其中的磁体和电流有力的作用,这种特殊物质为磁场,故选项A、C正确。]
任务二:对磁感线的理解
[例2](多选)磁场中某区域的磁感线如图所示,abcde是磁场中的5个点,其中cd两点关于直线对称,下列说法正确的是(  )

d4100ed0777cfeea71e2982fae264481.png
A.这5个位置中,e点的磁感应强度最大
B.a点没有磁感线穿过,所以a点磁感应强度一定为零
C.cd两点关于直线对称,所以cd两点磁感应强度方向相同
D.be两点在同一直线上,所以be两点磁感应强度方向相同
[解析] 从磁感线分布情况看,e点位置的磁感线分布最密集,磁感应强度最大,A正确;a处磁感线相对其他位置比较稀疏,a处磁感应强度较小,但并不是零,B错误;在cd两点的切线方向表示cd点的磁感应强度方向,所以cd两点磁感应强度方向并不相同,C错误;be两点的切线在同一直线上,所以D正确.
[变式训练2-1]一个磁场的磁感线如图所示,一个小磁针被放入磁场中,则小磁针将(  )

02c2270b829b8b32d6410e5368927f1f.png
A.逆时针转动,直到S极指向右
B.顺时针转动,直到N极指向右
C.一直顺时针转动
D.一直逆时针转动
B [因为小磁针N极受磁场力的方向就是磁场的方向,故选项B正确。]
任务三:电流的磁场(安培定则)
[例3] (多选)如图所示,螺线管中通有电流,如果在图中的abc三个位置上各放一个小磁针,其中a在螺线管内部,则(  )

e53e0298107376c809e01b220a365c0d.png
A.放在a处的小磁针的N极向左
B.放在b处的小磁针的N极向右
C.放在c处的小磁针的S极向右
D.放在a处的小磁针的N极向右
思路点拨:(1)通电螺线管的磁场分布与条形磁铁相似。
(2)小磁针的N极受力的方向即为磁场的方向。
BD [由安培定则,通电螺线管的磁场如图所示,右端为N极,左端为S极,在a点磁场方向向右,则小磁铁在a点时,N极向右,A项错误,D项正确;在b点磁场方向向右,则磁针在b点时,N极向右,B项正确;在c点,磁场方向向右,则磁针在c点时,N极向右,S极向左,C项错误。

55a250a760632de1f86ed9008381202c.png ]
[变式训练3-1] (多选)如图所示是云层之间闪电的模拟图,图中AB是位于南、北方向带有电荷的两块阴雨云,在放电的过程中,两云的尖端之间形成了一个放电通道,发现位于通道正上方的小磁针N极转向纸里,S极转向纸外,则关于AB的带电情况,下列说法正确的是(  )

d31389b887ff86bb93c60b2cddd38d45.png
A.带同种电荷          B.带异种电荷
C.B带正电        D.A带正电
BD [由于小磁针N极转向纸里,可知该点磁场方向向里,又根据安培定则,AB间存在由AB的电流,由此可知A带正电,B带负电,选项B、D正确。]
[变式训练3-2]为解释地球的磁性,19世纪安培假设:地球的磁场是由绕过地心的轴的环形电流I引起的。下图中正确表示安培假设中环形电流方向的是(    )

23b53adae315985475d206d826dadfef.png
B[由于地磁的北极在地里的南极附近 在用安培定则判定环形电流方向时右手的拇指必须指向南方。故B正确]

9686739826f0674ac19811b4cc8a49a7.png
[变式训练3-3]如图所示,三根长直通电导线中电流大小相同,通电电流方向为:b导线和d导线中电流向纸内,c导线中电流向纸外,a点为bd两点的连线的中点,ac垂直于bd,且abadac,则a点的磁场方向为(  )
A.垂直纸面指向纸外          B.垂直纸面指向纸内
C.沿纸面由a指向b          D.沿纸面由a指向d
答案:C
解析:题图中,bd两直线电流在a处产生的磁感应强度大小相等、方向相反,互相抵消,故a处磁场方向决定于直线电流c,由安培定则可知,a处磁场方向为ab.
[变式训练3-4]如图所示,图a、图b是直线电流的磁场,图c、图d是环形电流的磁场,图e、图f是通电螺线管电流的磁场.试在各图中补画出电流方向或磁感线的方向.

51ecfed93180de85c170ebfc7b84b473.png

993d47c6bab3230af4270390f8ef49b6.png
[解析] 根据安培定则,可以确定图a中电流方向垂直纸面向里,b中电流的方向自下而上,c中电流方向是逆时针方向,d中磁感线的方向向上,e中磁感线的方向向左,f中磁感线的方向向右.
您需要登录后才可以回帖 登录 | 立即注册

本版积分规则

Archiver|手机版|小黑屋|5432教案网 ( 蜀ICP备2022024372号-1 |川公网安备51152402000101号 )|网站地图

GMT+8, 2026-4-17 10:50 , Processed in 0.936225 second(s), 32 queries .

Powered by Discuz! X3.5

© 2001-2026 Discuz! Team.

快速回复 返回顶部 返回列表