找回密码
 立即注册
搜索
查看: 10|回复: 0

[人教版] (必修3)13.2磁感应强度 磁通量(导学案2)

[复制链接]

4万

主题

224

回帖

19万

积分

管理员

积分
190320
发表于 2026-4-8 07:12:35 | 显示全部楼层 |阅读模式
第十三章2节 磁感应强度 磁通量
【学习目标】
1在实验基础上,类比电场强度,定义描述磁场强弱和方向的物理量——磁感应强度,并进一步体会微元法和利用物理量之比定义物理量的方法。
2知道磁感应强度的定义,知道其方向、大小、定义式和单位。会用磁感应强度的定义式进行有关计算。
3知道匀强磁场的特点。
4知道磁通量,会计算在匀强磁场中通过某一面积的磁通量。
知识梳理
一、磁感应强度
1.电流元:很短一段通电导线中的电流I导线长度l的乘积Il
2控制变量法探究影响通电导线受力的因素
如图所示,三块相同的蹄形磁铁,并列放在桌上,直导线所在处的磁场认为是均匀的

ab0d4238cce2ee36ca4e5bdd5f2acbe9.png
(1)保持长度不变,改变电流大小比较导线受力大小(通过直导线摆动角度大小来比较)
(2)保持电流大小不变,改变磁场中导线长度比较导线受力大小
(3)实验结论:直导线与磁场垂直时,它受力大小既与导线的长度l正比,又与导线中的电流I正比
3.磁感应强度
(1)定义:在磁场中垂直于磁场方向放置的通电导线,所受的磁场力F跟电流I和导线长度l的乘积Il之比磁感应强度
BI垂直时,FBIL.
BI平行时,F=0.
BIθ角时,FBILsin θθBI的夹角

cc7851a9a88e61eaa51b6b3a0b2351d9.png
(4)矢标性:磁感应强度是矢量,方向为该点磁场方向,即小磁针静止N极所指方向。
二、匀强磁场
1.定义:各点的磁感应强度的大小相等、方向相同的磁场。
2.磁感线特点:间隔相等的平行直线

4372d457f67d79c180a587cb35f3c2ab.png
2adc9d920f81ee7ca6099cf00910ab02.png
三、磁通量
1.定义:匀强磁场中磁感应强度和与磁场方向垂直的平面面积S的乘积
2公式:ΦBS
适用条件匀强磁场;与磁场垂直的有效面积;与线圈匝数无关。

536040c37ab8fdbb4b74682b55af15d7.png
34260010a01cd655b7e78f7232a6a901.png
3.单位:国际单位制是(),符号是Wb1 Wb1 T·m2
4矢标性:磁通量是标量,但有正、负若以磁感线从某一面上穿入时磁通量为正值,则磁感线从此面穿出时即为负值。总磁通量等于代数和相加。

fbc771d1363740e85e364d17cba27970.png
判一判
(1)电流为I、长度为l的通电导线放入磁感应强度为B的磁场中受力的大小一定是FIlB        (×)
(2)磁场中某处的磁感应强度大小与有无小磁针无关,与有无通电导线也无关。        (√)
(4)在匀强磁场中面积越大,磁通量一定越大。        (×)
(5)磁感应强度等于垂直穿过单位面积的磁通量。        (√)
(6)磁通量不仅有大小而且有方向,所以是矢量。        (×)
【学习过程】
任务一:对磁感应强度的理解
[1](多选)把一小段通电直导线垂直于磁场方向放入一匀强磁场中,图中能正确反映各量间关系的是(  )

2385be1c3703616cfd9d3f5a08ec98c7.png
[变式训练1-1]关于磁感应强度B、电流I、导线长度L和电流所受磁场力F的关系,下面的说法正确的是(  )
A.在B0的地方,F一定等于零
B.在F0的地方,B一定等于零
C.若B1 TI1 AL1 m,则F一定等于1 N
D.若L1 mI1 AF1 N,则B一定等于1 T
[变式训练1-2]磁感应强度的单位是特斯拉(T),与它等价的是(  )
[变式训练1-3]下列关于磁感应强度的方向和电场强度的方向的说法,不正确的是(  )
A.电场强度的方向与电荷所受的电场力的方向相同
B.电场强度的方向与正电荷所受的电场力的方向相同
C.磁感应强度的方向与小磁针N极所受磁场力的方向相同
D.磁感应强度的方向与小磁针静止时N极所指的方向相同
A [电场强度的方向就是正电荷所受的电场力的方向,磁感应强度的方向是小磁针N极所受磁场力的方向或小磁针静止时N极所指的方向。故只有A项错误。]
[变式训练1-4] (多选)关于试探电荷和电流元,下列说法正确的是(  )
A.试探电荷在电场中一定受到电场力的作用,电场力与所带电荷量的比值定义为电场强度的大小
B.电流元在磁场中一定受到磁场力的作用,磁场力与该段通电导线的长度和电流乘积的比值定义为磁感应强度的大小
C.试探电荷所受电场力的方向与电场方向相同或相反
D.电流元在磁场中所受磁场力的方向与磁场方向相同或相反
任务对磁通量的理解
[例2]如图,匀强磁场的磁感应强度B为0.2T,方向沿x轴的正方向,且线段MNDC相等,长度为0.4m,线段NCEFMDNECF相等,长度为0.3m,通过面积SMNCDSNEFCSMEFD的磁通量Φ1Φ2Φ3各是多少?

9d3b1b39b60afbeb6a415446213e36ef.png
[变式训练2-1]如图所示,半径为R的圆形线圈共有n匝,其中心位置处半径为r的虚线范围内有匀强磁场,磁场方向垂直线圈平面。若磁感应强度为B,则穿过线圈的磁通量为(  )

34260010a01cd655b7e78f7232a6a901.png
AπBR2            BπBr2
CnπBR2        DnπBr2
B [磁通量与线圈匝数无关,且磁感线穿过的面积为πr2,而并非πR2,故B正确。]
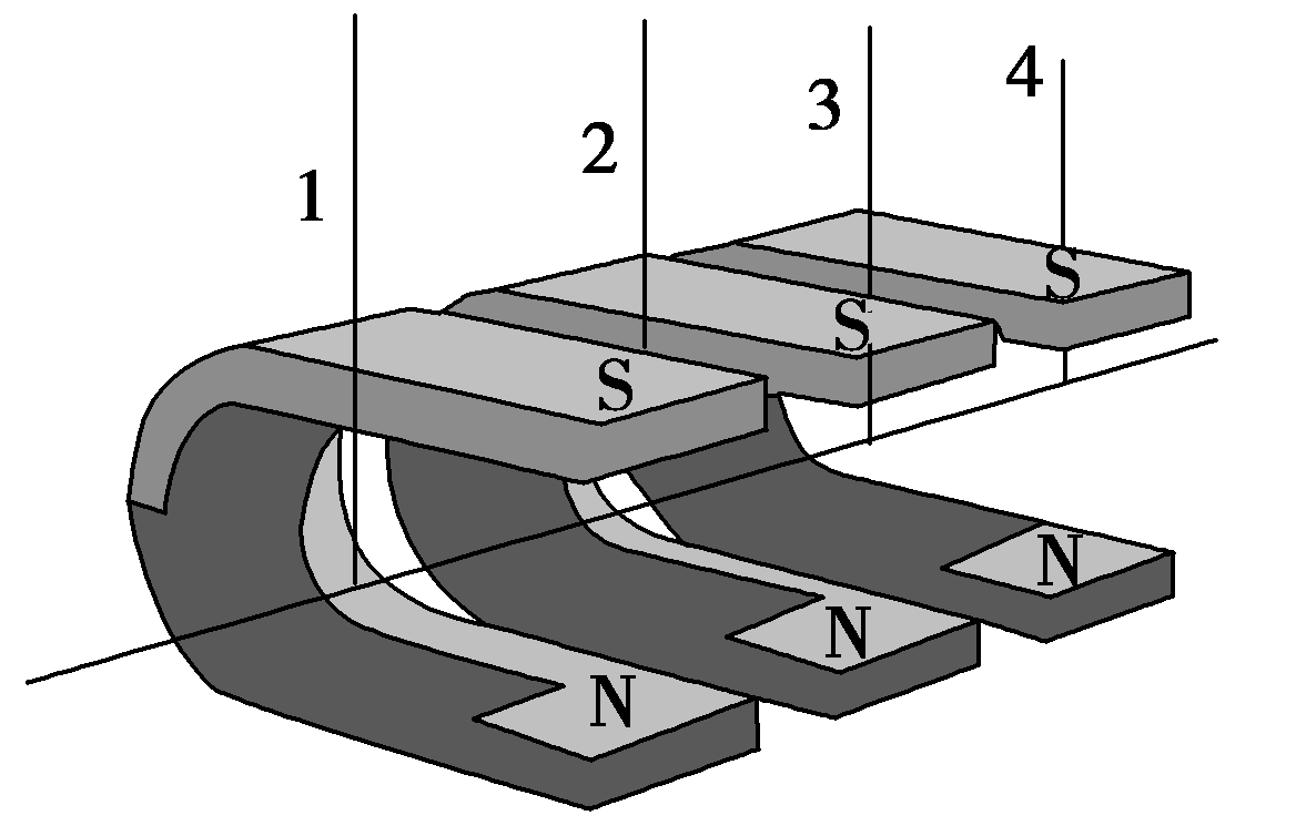
[变式训练2-2]磁通量可以形象地理解为穿过一个闭合电路的磁感线的条数。在如图所示磁场中,S1S2S3为三个面积相同的相互平行的线圈,穿过S1S2S3的磁通量分别为Φ1Φ2Φ3且都不为0。下列判断正确的是(  )

e072d78cb9dbfc4e6e9667d7923e4985.png
AΦ1最大         BΦ2最大
CΦ3最大        DΦ1Φ2Φ3相等
A [磁通量表示穿过一个闭合电路的磁感线条数的多少,从题图中可看出穿过S1的磁感线条数最多,穿过S3的磁感线条数最少。]
[变式训练2-3]如图所示,ab是两个同平面、同心放置的金属圆环,条形磁铁穿过圆环且与两环平面垂直,则通过两圆环的磁通量ΦaΦb(  )

bb08154a5c97d01126fb69b925991f99.png
A.Φa>Φb          B.Φa<Φb
C.ΦaΦb          D.无法比较

c23742038348db23e3e182b4f080961a.png
A [条形磁铁磁场的磁感线的分布特点是:磁铁内外磁感线的条数相同.磁铁内外磁感线的方向相反.磁铁外部磁感线的分布是两端密、中间疏.两个同心放置的同平面的金属圆环与磁铁垂直且磁铁在中央时,通过其中的磁感线的俯视图如图所示,穿过圆环的磁通量ΦΦΦ,由于两圆环面积Sa<Sb,两圆环的Φ相同,而Φa<Φb,所以穿过两圆环的有效磁通量Φa>Φb,故A正确.]
[变式训练2-4]如图所示,abc三个闭合线圈放在同一平面内,当线圈a中有电流I通过时,它们的磁通量分别为ΦaΦbΦc,下列说法中正确的是(  )

84f3836d3e36eb565c912114d1ac5cb5.png
A.Φa<Φb<Φc          B.Φa>Φb>Φc
C.Φa<Φc<Φb          D.Φa>Φc>Φb
B [a中有电流通过时,穿过abc三个闭合线圈向里的磁感线条数一样多,向外的磁感线条数c最多,其次是ba中无向外的磁感线.因此,据合磁通量的计算,应该是Φa>Φb>Φc.]
您需要登录后才可以回帖 登录 | 立即注册

本版积分规则

Archiver|手机版|小黑屋|5432教案网 ( 蜀ICP备2022024372号-1 |川公网安备51152402000101号 )|网站地图

GMT+8, 2026-4-17 10:51 , Processed in 0.945642 second(s), 32 queries .

Powered by Discuz! X3.5

© 2001-2026 Discuz! Team.

快速回复 返回顶部 返回列表